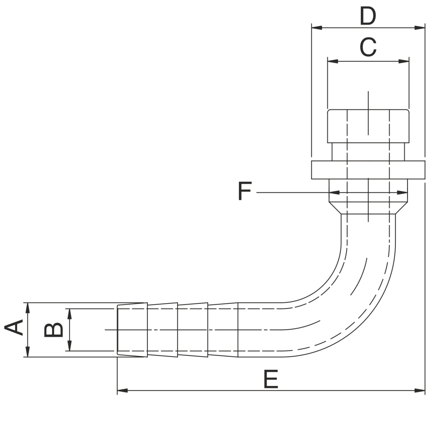
Bierschlauchtülle Schlauchnippel CO2 Tülle gebogen 90 Grad 10mm mit Bund und Ansatz für Einstich 14x8mm
Material: Edelstahl 1.4301 (Chromnickelstahl) CNS
Inhalt: 50 Stück
Außendurchmesser (A): 11,3mm
Innendurchmesser (B): 9,8mm
Einstich Durchmesser (C): 13,5mm
Flansch Durchmesser (D): 18mm
Gesamt Länge (E): 56mm
Durchmesser (F): 13,8mm
Straße: Heckershäuser Str. 32
PLZ, Ort: 34292 , Ahnatal
Land: Deutschland
Bundesland: Hessen
E-Mail: info@bietal.de
Homepage: https://www.bietal.de/
Heckershäuser Str. 32
Hessen
Ahnatal, Deutschland, 34292
info@bietal.de
https://www.bietal.de/
- Artikelgewicht: 0,50 kg
- Inhalt: 50,00 Stück



